在周四曝光的一系列新专利中,苹果介绍了为其即将面世的 AirPods Studio 耳机所构建的新技术。比如能够识别人耳的细节,以及采用了可折叠收纳的设计。前者基于在耳机后部空间增加的磁传感器,可用于分析耳机与人耳的贴合程度,而且提供了有助于更好地阻挡外部声源的耳垫。

可收纳式耳机头箍设计示意
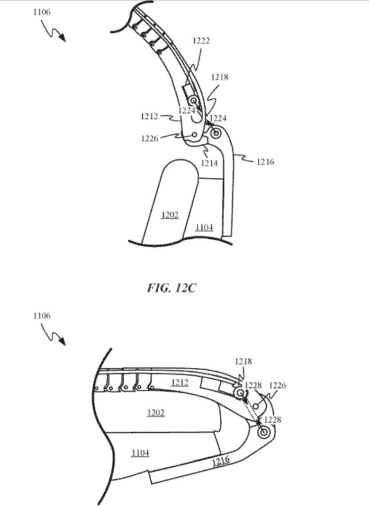
在 5 月提交的专利申请文档中,苹果表示耳机诞生至今已有百余年,但用于将发声单元固定在用户耳朵上的机械框架仍长期没有改进。
基于此,用户很难在闲置时将它收纳或储运,一些人更是习惯了在不用时将耳机摘下并戴在脖子上。

折叠原理示意
好消息是,苹果设想了一种新颖的折叠式收纳方案,主要归功于一系列非同寻常的拱形弹簧条带。
一些人猜测,苹果或许会在传闻已久的 AirPods Studio 耳机上率先引入这一设计,以填补 AirPods / AirPods Pro 真无线蓝牙耳机之外的头戴式耳机的市场空缺。