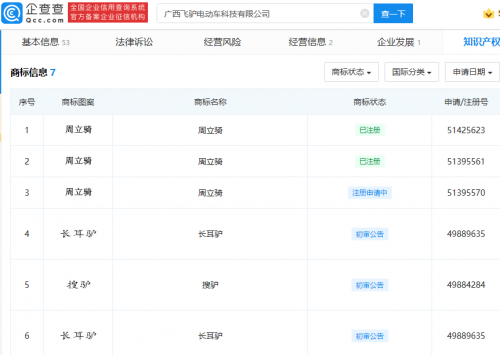
企查查APP显示,近期,广西飞驴电动车科技有限公司成功注册周立骑商标,商标国际分类涉运输工具、科学仪器,该公司成立于2020年1月,此前,该电动车公司曾发声明确认周立齐签约成为联合创始人。据悉,周立齐曾因采访时表示“打工是不可能打工的,这辈子都不可能打工”而走红。


企查查APP显示,近期,广西飞驴电动车科技有限公司成功注册周立骑商标,商标国际分类涉运输工具、科学仪器,该公司成立于2020年1月,此前,该电动车公司曾发声明确认周立齐签约成为联合创始人。据悉,周立齐曾因采访时表示“打工是不可能打工的,这辈子都不可能打工”而走红。

