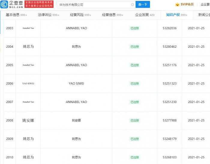
12月2日消息,企查查App显示,近期,华为技术有限公司成功注册姚思为、YAO SIWEI、ANNABEL YAO商标,商标国际分类涉及服装鞋帽、方便食品等。企查查还显示,华为目前也已经完成了姚安娜商标的注册。据悉,姚安娜原名为姚思为,为华为创始人任正非的小女儿。
今年1月14日,迎来23岁生日的姚安娜宣布加盟天浩盛世,正式进军娱乐圈。
资料显示,姚安娜原名姚思为,出生于1998年,本科毕业于哈佛大学电脑工程和统计数据专业。

12月2日消息,企查查App显示,近期,华为技术有限公司成功注册姚思为、YAO SIWEI、ANNABEL YAO商标,商标国际分类涉及服装鞋帽、方便食品等。企查查还显示,华为目前也已经完成了姚安娜商标的注册。据悉,姚安娜原名为姚思为,为华为创始人任正非的小女儿。
今年1月14日,迎来23岁生日的姚安娜宣布加盟天浩盛世,正式进军娱乐圈。
资料显示,姚安娜原名姚思为,出生于1998年,本科毕业于哈佛大学电脑工程和统计数据专业。
