返回上一页  首页 | cnbeta报时: 22:25:51
[图]微软新专利展示了一款采用柔性可折叠屏幕的Surface设备
发布日期:2020-01-30 09:44:35  稿源:cnBeta.COM

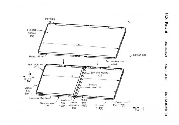
去年10月,微软推出了Surface Neo和Surface Duo两款双屏设备,通过铰链来连接两个屏幕。虽然在外观上没有Galaxy Fold/华为Mate X那样震撼,但可能没有耐用性问题。但这并不意味着微软就放弃构建可折叠屏幕的想法,在最新专利[PDF]中就概述了构建可折叠柔性屏幕的方法。

这项新专利名为“铰链设备”,于2019年5月6日提交至美国和专利局,并于2020年1月28日获批公示。在专利概述中,除了第一屏幕和第二屏幕之外,还通过柔性屏幕覆盖中建的柔性屏幕。在专利中微软使用了一根软线来确认铰链部分相对于柔性屏幕的长度。

为了容纳柔性显示器,可通过将铰链导向器(以及第一部分和第二部分)推向铰链组件来减小柔性显示器下面的设备的有效长度。但是,当软线经历相对较长的路径时,软线326可以克服这种偏斜。

第一部分和第二部分将相对于铰链轴线旋转,并且绳索为结构提供支撑。该设备还具有一个凸轮,该凸轮被设计为迫使支撑远离铰链轴,除非方向为180度。该文件表明微软也在考虑使用柔性显示设备,但我们不知道微软是否会将这种想法转化为产品。

我们在FebBox(https://www.febbox.com/cnbeta) 开通了新的频道,更好阅读体验,更及时更新提醒,欢迎前来阅览和打赏。
查看网友评论   返回完整版观看

返回上一页  首页 | cnbeta报时: 22:25:51

文字版  标准版  电脑端

© 2003-2025