苹果公司一直在研究制造可折叠iPhone的可能性,这种iPhone配备了一个铰链,可以使柔性显示屏弯曲到足以使智能手机折叠的程度,但是可以防止显示屏出现折痕。智能手机的当前趋势是增加了柔性显示屏和可移动部分,三星Galaxy Fold就是证明,由于显示屏的原因,要打造一个可以折叠整个单元的智能手机很难。特别是对于显示屏来说,折痕可能会使屏幕看起来不美观,并带有多余的凸起部分,而折痕会使显示屏疲劳并随着时间的流逝而破裂。
周二美国专利商标局发布一项苹果专利,名为“具有柔性显示器和铰链的电子设备”,它提出了一种移动设备的设计方案,该移动设备应在可折叠外壳中包括柔性显示屏。其核心思想是允许将柔性显示屏弯曲到足以使设备对折的程度,但这样做的方式应能保护显示器。
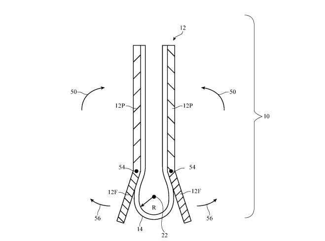
苹果公司的解决方案是,它需要以某种方式弯曲显示屏,特别是使中间部分在弯曲之前稍微向外弯曲。这样,可以使远离弯曲区域的显示屏主要部分和边缘尽可能接近地会合,同时允许弯曲部分以较大的半径弯曲,从而使应力最小化。为此,苹果提出了一种铰链机制,该机制可使屏幕由主壳体支撑,并保持平坦,在弯曲时,铰链机构同时使外壳的元件围绕弯曲处所在的部分旋转,让设备看起来整洁。
在内部,铰链可控制显示屏的移动,从而在铰链处弯曲,使用空隙部分为屏幕提供扩大弯曲所需的空间。机架和齿轮装置可用于保持外壳和显示屏与静态区域中每个折叠元件的距离,以及强制实现所需的弯曲半径。展开时,可伸缩的翻盖可以在内部延伸以支撑该位置的显示屏,因此,按一下手指不会影响屏幕的位置,也不会使屏幕疲劳,而不会超出正常使用的范围。
多年来的大量文件表明,这是公司感兴趣的领域。在2018年,它获得了“具有柔性显示屏的电子设备”专利,该专利解释了屏幕如何具有多个有助于折叠的元素。


