有公司意图注册“阿京腾百”商标,结果阿里、京东、腾讯、百度四家公司联合申诉,阻止其获得该商标。8月25日,“阿京腾百”商标被裁定不予核准注册,理由为“在如今的互联网社会环境下,具有明显的傍名牌搭便车意图,易产生不良影响”。据了解,“阿京腾百”标申请人为梅州新都科技实业有限公司,成立于2007年11月,注册资本为2000万人民币,法定代表人周汉坤。
公司介绍称:新都科技实业是一家集健康、娱乐产品为一体的高科技生产经营企业。
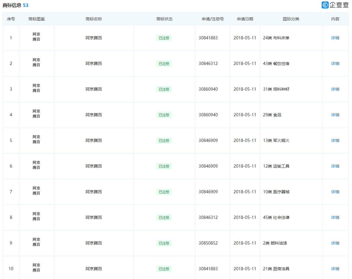
其名下共有53件商标,其中45件为 “阿京腾百”商标,于2018年5月11日集中申请,涉及餐饮、饲料、床单、食品、军火烟火、医疗器械、厨房洁具等等。
网友调侃:这一次四家公司站在统一战线,前所未有的和谐。
