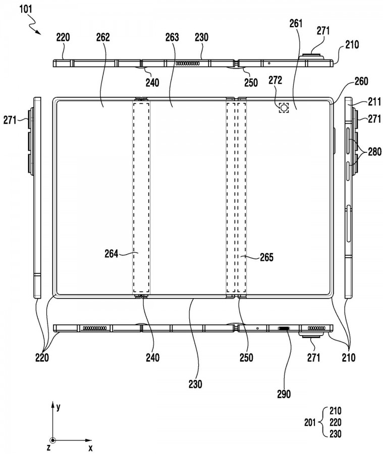
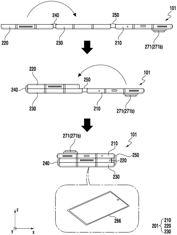
三星预计今年将推出首款三折叠智能手机,但官方尚未公布具体的上市日期。据悉,这款新机有望被命名为Galaxy Z TriFold。韩国专利信息服务(KIPRIS)近日公布的一份专利文件显示,Galaxy Z TriFold将会配备三块电池。

由于三折叠结构,手机分为三个独立区域,每个区域内都安置一颗电池。专利草图显示,最小的电池(T1)位于包含后置三摄像头的区域,第二大电池(T3)则安置在外屏区域,而最大的电池(T2)被置于手机折叠后夹在中间的区域。


目前专利文件未披露各电池的具体容量及手机的充电速度,但外界期待Galaxy Z TriFold的续航和快充性能能够超越三星Galaxy Z Fold7。后者仅配备了4400mAh电池及25W有线充电,明显落后于部分同类竞品。
早先有传言称Galaxy Z TriFold将仅在韩国和中国上市,但最新消息显示,该机也有望登陆美国市场。根据近期传闻,三星可能会在本月底正式发布这款三折叠新机。
除了TriFold之外,三星首款Android XR头显(代号Project Moohan)也预计将在本月亮相。韩国地区已计划于10月15日至21日开放预注册,正式发布时间为10月22日。