你以后买到的空调,制冷能力要打折了?这个事儿在民间传了有段时间了,大家聊的其实是厂家们在大力推行的“铝代铜”。前不久,海尔、美的、海信、TCL、奥克斯等空调主流品牌,就一起搞了个君子协定,说是要好好地、科学宣传空调铝代铜。
相信细心的大家也发现了,在这个庞大的联盟名单中,好像少了董大姐领导的格力。
作为目前国内空调行业的龙头,格力对铝代铜的态度非常明确,曾前后多次正面回应:不约,叔叔咱们不约。
董明珠就曾亲口表示,“铝代铜能不能代?可以代。但格力现在不用,是因为它目前还没有达到铜的同等技术条件和保障。”
月底的时候,格力又在互动平台明确表示,公司暂时没有铝代铜计划。
这么看起来,即便是在行业内部,铝代铜仍旧是一个充满争议的话题,到底是行业技术进步,大家都不带格力玩,上演一出六大门派围攻光明顶,还是格力谦谦君子,不和大家伙同流合污,集体减配呢?
差评君也去查了查相关信息,发现空调铝代铜还真挺复杂。
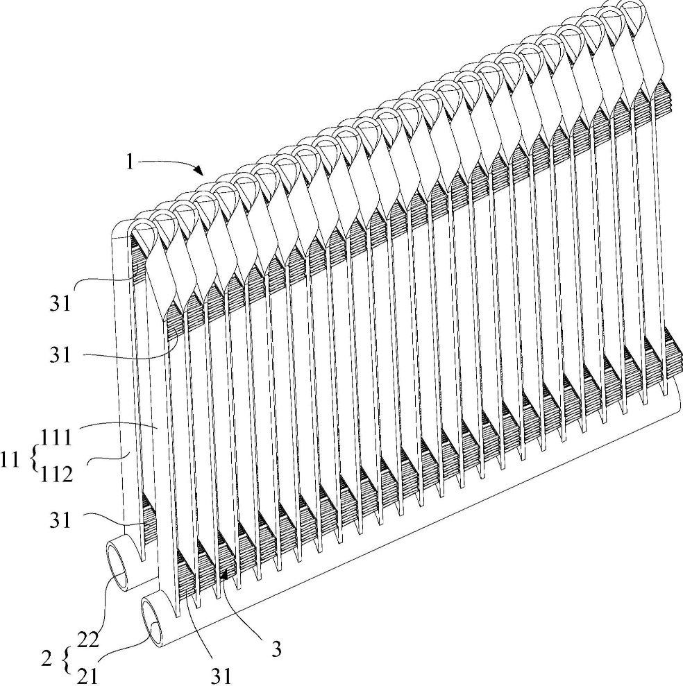
首先,我们需要确定的是,最近吵得火热的铝代铜,并不是要把空调里的铜部件全部换成铝的,而只是把关键部件热交换器里的铜管,换成铝管。
不过,光是这么一个变动,也已经足够让空调行业震三震了。
因为,热交换器里的铜管,是蒸发器和冷凝器的关键部件,而不知道做什么工作的师傅们就会告诉大家,它俩又分别控制着空调的吸热和放热。
所以,你可以简单理解为,用铝代铜,确实可能会影响到空调制冷效果。
因为截止到2025年为止,铜依旧是空调热交换器材料中的王中王。
高效导热、容易维护、稳定耐用,这些特点让铜自古以来就是空调不可分割的一部分。
相比而言,铝的性能虽然也不错,但在铜面前就有点拉了,它的导热性只有铜的约60%,而且耐腐蚀性差、热膨胀系数差、焊接也比较难。
不过最近几年空调行业突飞猛进,铝材料还是被玩出了很多花活的。
比如利用微通道技术,解决了铝导热差的问题。
简单说就是把原来一根粗铜管,换成几十根甚至上百根细铝管,通过大幅增加换热面积,来弥补铝导热性不足的缺陷。
然后是耐腐蚀的难题,厂商会给铝管做专用的防腐涂层,还采用氮气保护焊接、干燥处理等工艺,让铝管的使用寿命接近铜管。
至于铝的热膨胀系数高,在冷热循环中容易变形漏氟,现在的解决方案是优化结构设计,用铜铝复合过渡接头和柔性连接方式,减少冷热交替带来的应力,降低泄漏风险。
另外,铝自钎钎料技术的突破,也解决了一部分铝管焊接难的问题。
光从纸面数据上看,铝在一定程度上的确已经可以替换铜管了。
可空调可不是一锤子买卖,换了铝管的空调售后问题怎么办?
比如铝管远不如铜管修起来方便,如果铜管漏了,直接焊上就可以了,而铝管漏了基本就得换件,那这部分多出来的成本该谁来承担呢?
而且,铜铝连接处,耐用性可能也还是略逊铜一筹,这也会大大影响产品寿命。

在完美解决这些问题之前,铝代铜恐怕都会让消费者心里犯嘀咕。
不过呢,我们也发现铝代铜的主意压根就不新鲜,既不是空调行业搞特殊化,也不是只有咱们国内才有,几乎所有家电甚至包括电力行业。
全世界只要在用铜的,都想过办法铝代铜。
早在20世纪60年代,铝代铜的概念就被提出了。
而在空调行业,什么国际顶流大金空调,也早早地就与日本铝业巨头UACJ合作,开发了专用的耐腐蚀铝合金材料,还在2021年宣布,计划到2025年将全球空调产品中的铜使用量减少50%。
如今,大金都已经在欧美大规模推广了全铝室外机。
这么看起来,在世界范围内,不管是在行业内部、市场上、技术上,铝代铜都是大势所趋。
那为什么这些大厂们,要在2025年,急急忙忙地把空调里的铜换成铝。
我们觉得主要是成本、风险和技术三个方面原因。
最大的问题肯定是钱了,现在的铜真的太TM 贵了。

据统计,普通空调的用铜成本就有30%左右,而一些高端机型,甚至可能得花40%以上。
以前大家伙也就捏着鼻子用了,可哪曾想,这几年铜价爆了。
24号的时候,伦敦金属交易所(LME)三个月期铜价格最高位已经超过了1.2万美元/吨,都快赶上铝价的5倍了。
而且吧,这个铜价,短时间内估计是下不来了。
因为今年全球的世界级铜矿们,都挺水逆的。
9月份,全球第二大铜矿印尼格拉斯伯格铜矿,发生了泥石流,导致今明两年全球市场损失约 59 万吨铜产量。
这个数字什么概念呢,位于刚果(金)的世界第三大卡莫阿-卡库拉铜矿,年产量差不多也就这个数。
这还没完,就这个卡莫阿-卡库拉铜矿,本来是目前全球增长最快、品质最好的铜矿之一,结果下半年又因为暴雨,引发了严重的地下涌水事故,今年不仅没保住增长势头,甚至还要下跌40%。
另一边,盛产铜矿的南美洲闹着劳资纠纷、停电等等问题,都影响了铜矿的稳定开采运输,进一步影响了全球可用的铜。
现有的老登铜矿们不行,那想法子找新矿挖挖呢?
咱就不说一个矿从探明、开采动辄需要几十年,远水解不了近渴,目前的铜矿带主要在南非、拉美这些欠发达地区,当地基建薄弱,动不动停电、事故等等,供应相当不稳定。
开采量上大打折扣就已经够让人偷着乐了,还有好消息是外部的需求也在水涨船高呢。
铜矿需求量大增这事儿的元凶其实就是AI,对,又有AI的锅。
因为眼下全球都在疯狂扩建超大规模的数据中心,据测算,一个典型的AI超大规模数据中心铜用量可高达50000吨……
不仅如此,咱们之前也说了很多次,AI发展对全球电力资源提出了更高的要求,像是国内要建更多的特高压输电线路来西电东送,美国和欧洲那边为了保障电力供应,就得把以前的老电力设备、线路进行全新翻新升级。
这些电网相关的设施建设、制造,都需要更多更多的铜……
除了AI,隔壁的新能源车产业也干了。
因为每辆电车的铜用量,大约是燃油车的4倍左右,更别提雨后春笋一样长出来的充电、快充站,也需要更多更多含铜电缆和变压器。
如果说全球铜矿流年不利是天灾,大家用铜量大涨是为了市场发展、人类社会进步的阵痛期,那特朗普搞出的“铜232调查”,还给铜价暴涨补上了最关键的一刀人祸。
今年中特朗普签署公告,宣布对进口的半成品铜产品(如管材、线材)和铜衍生品加征关税。
虽然目前豁免了原料,但外界分析都普遍认为明后年还会进一步加码。
于是,为了避免可能到来的关税成本,大家疯狂往美国囤铜,那就导致了其他地区铜价上涨……
根据高盛的分析,明年各地铜矿供应恢复,全球铜市场预计将出现30万吨的供应过剩,但却因为美国这一手操作,全球(不含美国)铜市场反而会出现45万吨的供应缺口。
所以,这么看起来,以铝代铜说白了就是空调企业们,为了对抗眼下铜价大涨,转移成本问题的手段?
倒也不尽然,这还涉及到供应链风险。
国内铜矿储量大概只占据全球的4%,远远满足不了我们占全世界五成以上的消耗量,所以80%以上的铜都得靠进口,而铜矿主要产地地缘政治风险极大,随便来点幺蛾子,那铜就可能不够用。
而试图用来代替铜的铝就不一样了,人家是地壳中仅次于氧和硅的第三大成分,丰富的含量不仅让铝的价格远比铜实惠(眼下,根据格力透露,空调中铝材的成本是铜材的1/12),而且也变相地保证了的供应链更稳定。
再加上我们又是全球独一档的产铝大国,电解铝产量占了全球60%以上,真要说影响供应链,只有我们影响别人的份,哪有被影响的可能。
所以,早在今年3月,工信部等十部门就联合发布《铝产业高质量发展实施方案(2025—2027 年)》,明确点名支持"空调热交换器换热铝管"的应用。

总的来看,铝代铜风波,其实是铜价暴涨、供应链风险、技术进步积累等等多重因素,导致商家们不得不进行的一个选择。
不过话又说回来,我们普通人其实没那么纠结商家到底用的什么材料,只要性能好、价格便宜,哪有不支持的道理呢?
大家真正担心而是你用了便宜的铝,空调制冷制热的效果反而开倒车,省下了材料成本,最后还卖我一样的价钱。
所以,既然行业大佬们都信誓旦旦地说铝代铜技术已经成熟,性能不输铜管,那不妨步子迈得更大一点:
比如,把省下来的真金白银,实实在在地体现在降价上,或者在售后质保上多承诺几年?
毕竟,技术进不进步,不能光看厂商的PPT,还得看咱们老百姓用几年后,是竖大拇指,还是直摇头。









