据美国专利商标局(PTO)今日公布的一项专利申请文件显示,苹果公司计划将“就近认证”技术扩展到其他设备中,即允许用户通过一台已经认证的设备,自动解锁其附近的另一台设备。苹果一直希望用户能够更轻松地快速解锁多台设备,根据这一专利申请文件,将来用户利用传闻中的苹果AR或VR头戴设备、或智能眼镜就可能自动解锁iPhone了。

当用户手头拥有多台设备时,他们遇到的问题之一是,需要对每一台设备进行身份验证。例如,一个人可能不得不在一天内多次解锁iPhone、iPad、Apple Watch、Mac和其他计算设备。
之前,苹果也曾尝试减少访问一些设备所需的时间,例如让用户使用Face ID和Touch ID来验证身份,但该过程仍需要一些时间才能完成。如今,苹果认为,解决该问题的一个办法可能是“就近认证”。事实上,苹果之前就有了这一概念。例如,利用Apple Watch解锁附近的Mac电脑。
而据美国专利商标局今日公布的一项名为“已认证设备辅助用户认证”(Authenticated Device Assisted User Authentication)的专利申请文件显示,苹果计划将该想法扩展到其他设备中,从而允许用户已认证的设备自动解锁其附近的另一台设备。
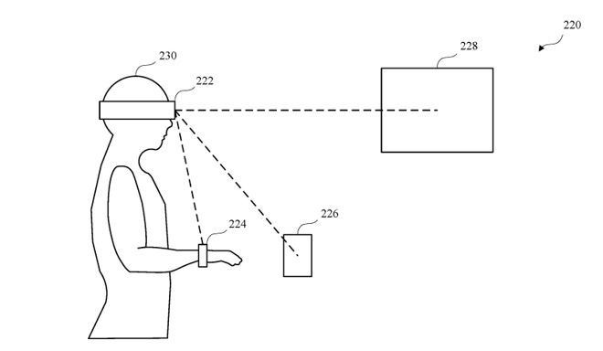
苹果在专利申请文件中称,经过认证的设备可能是“智能头盔”,如智能眼镜、AR或VR头盔。在用户手动解锁智能眼镜、AR或VR头盔后,这些设备就可以自动解锁用户附近的其他设备,从而让用户访问周围设备中的某些功能。具体可以使用哪些功能,还取决于用户的事先配置。
对于用户附近的设备,如iPhone或iPad,在默认情况下可能处于锁定状态,未经身份验证是无法访问的。而根据苹果申请的新专利,用户佩戴的智能头盔可以对这些锁定设备启动“就近认证”功能,从而确定用户的意图,并发送认证数据到锁定设备,以解锁它们。根据锁定设备的事先配置,这些身份验证数据可用于解锁设备,或者用于在不解锁的情况下让用户访问有限的功能。
至于附近有哪些设备,以及用户的意图,可以通过多种方式来确定。根据苹果专利的建议,可利用智能头盔的图像传感器发现锁定的设备,并确定其相对于用户的位置,以便进行意图分析。而意图分析可以通过使用其他传感器来实现,例如使用超宽带无线电。
根据检测到的用户意图,智能头盔可能会向已解锁的设备发送第二次身份验证信息,告诉它重新锁定。这样就可以防止设备超长时间处于解锁状态,从而确保用户数据的安全。此外,这还有助于纠正一种误判情况,即智能头盔解锁了它认为用户可能会使用的锁定设备,但用户却并未使用。
需要指出的是,苹果每周都会提交大量的专利申请,这只能表明苹果对相关技术感兴趣,而不能保证将来一定会推出这样的产品或服务。