返回上一页  首页 | cnbeta报时: 20:11:27
上百项新冠肺炎临床试验申请注册 太极拳金银花汤剂在列
发布日期:2020-02-18 13:18:07  稿源:网易科技

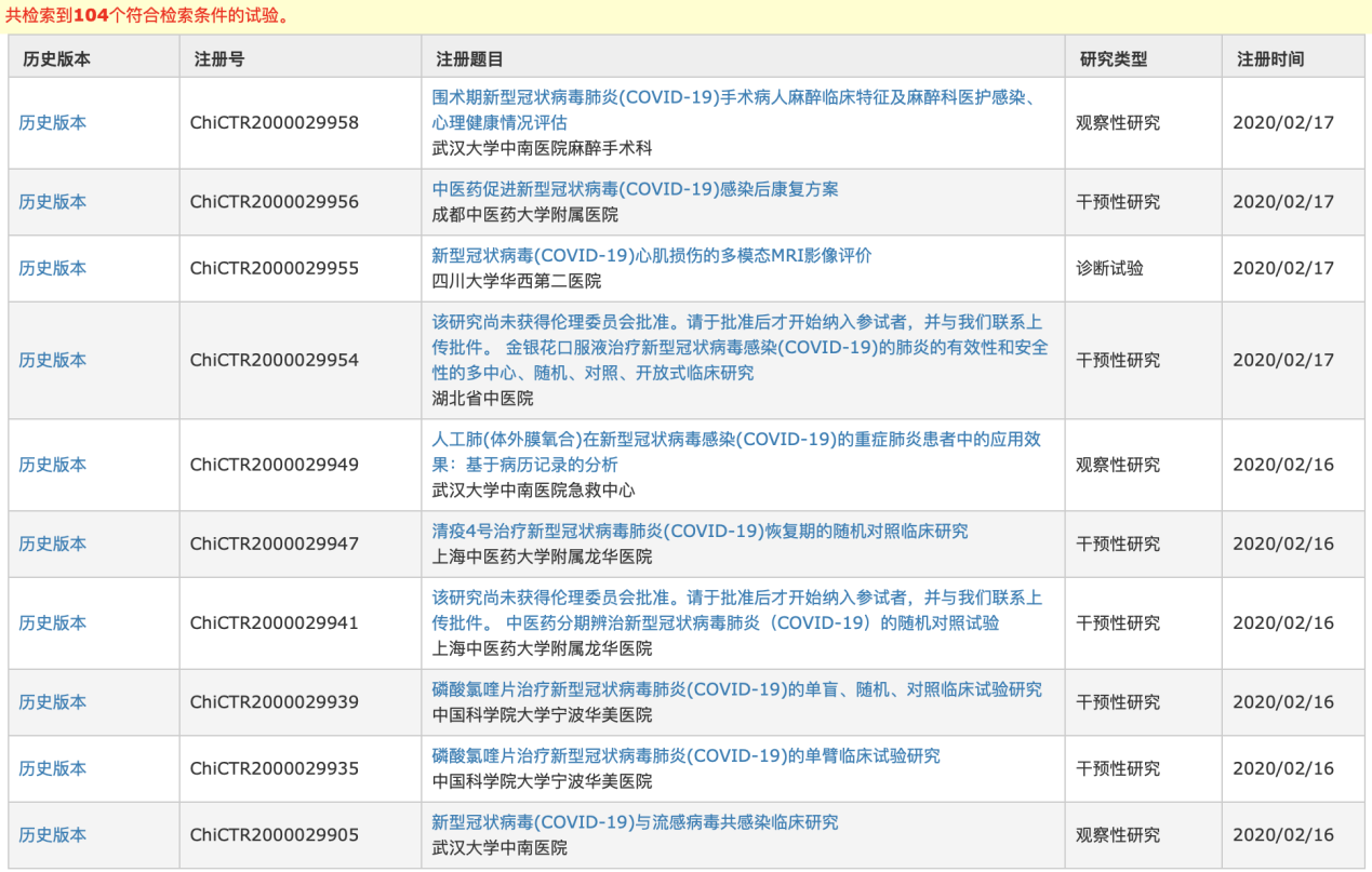
截止2月17日19:00,以新型冠状病毒肺炎(COVID-19)为关键词检索,已经有104项临床试验在该平台进行了注册(包括专家推荐的磷酸氯喹)。其中包括太极拳、金银花汤剂等研究课题。

根据介绍,中国临床试验注册中心是世界卫生组织临床试验注册平台(WHO ICTRP)一级注册机构,负责中国地区的临床试验注册,并接受世界其他国家或地区的注册申请,临床试验注册后资料均送WHO ICTRP,并能在其一站式检索入口检索到。

处于伦理和科学两方面的要求,所有在人体中和采用取自人体的标本进行的研究,包括各种干预措施的疗效和安全性的有对照或无对照试验(如随机对照试验、病例-对照研究、队列研究及非对照研究)、预后研究、病因学研究、和包括各种诊断技术、试剂、设备的诊断性试验,均需注册并公告。

据悉,中国临床试验注册中心为非盈利机构,一律免费注册。

在这104项注册申请的课题中,部分尚未获得伦理委员会批准,需要等批准之后才能纳入实验者。

这些研究主要是干预性研究、观察性研究以及预防性研究。据官方介绍,干预性临床试验是指任何治疗研究中采用随机对照设计的研究, 预先将受试者或受试人群随机分配至接受一种或多种医疗干预(如预防保健、药物、外科治疗、行为疗法等),以评价医疗措施对健康结局的影响。 包括预试验、正式的试验、上市前或上市后药物或医疗设备的临床试验。

而观察性研究是指治疗研究中采用非随机对照设计的试验,包括单病例研究、连续病例研究、队列研究或非随机对照研究。

网易科技《态℃》栏目发现在这些试验中有纯西医的临床研究,也有中医治疗、中西医治疗等方式。其中,中医的金银花汤剂和太极拳也在研究行列,属于干预性研究。

《太极拳对新型冠状病毒肺炎(COVID-19)患者康复期肺功能及生存质量影响的随机对照研究》申请单位为湖北中医药大学附属新华医院和湖北省中西医结合医院。目前该实验已经获得伦理委员会批准。

该项目的经费或物资来源是自筹,研究目的是研究太极拳对新型冠状病毒感染的肺炎患者康复期肺功能及生存质量的影响,干预措施为太极拳+常规治疗方式,目前尚未开始招募研究对象。

《金银花汤剂在新型冠状病毒(COVID-19)感染的患者中的治疗作用的随机对照研究 》的研究目的则主要是评价金银花汤在COVID-19感染患者中的作用,目前正在招募研究对象。

我们在FebBox(https://www.febbox.com/cnbeta) 开通了新的频道,更好阅读体验,更及时更新提醒,欢迎前来阅览和打赏。
查看网友评论   返回完整版观看

返回上一页  首页 | cnbeta报时: 20:11:27

文字版  标准版  电脑端

© 2003-2025